精工LP-1010/1010L打印机使用说明书:[5]

 时间:2026-02-17 06:37:39

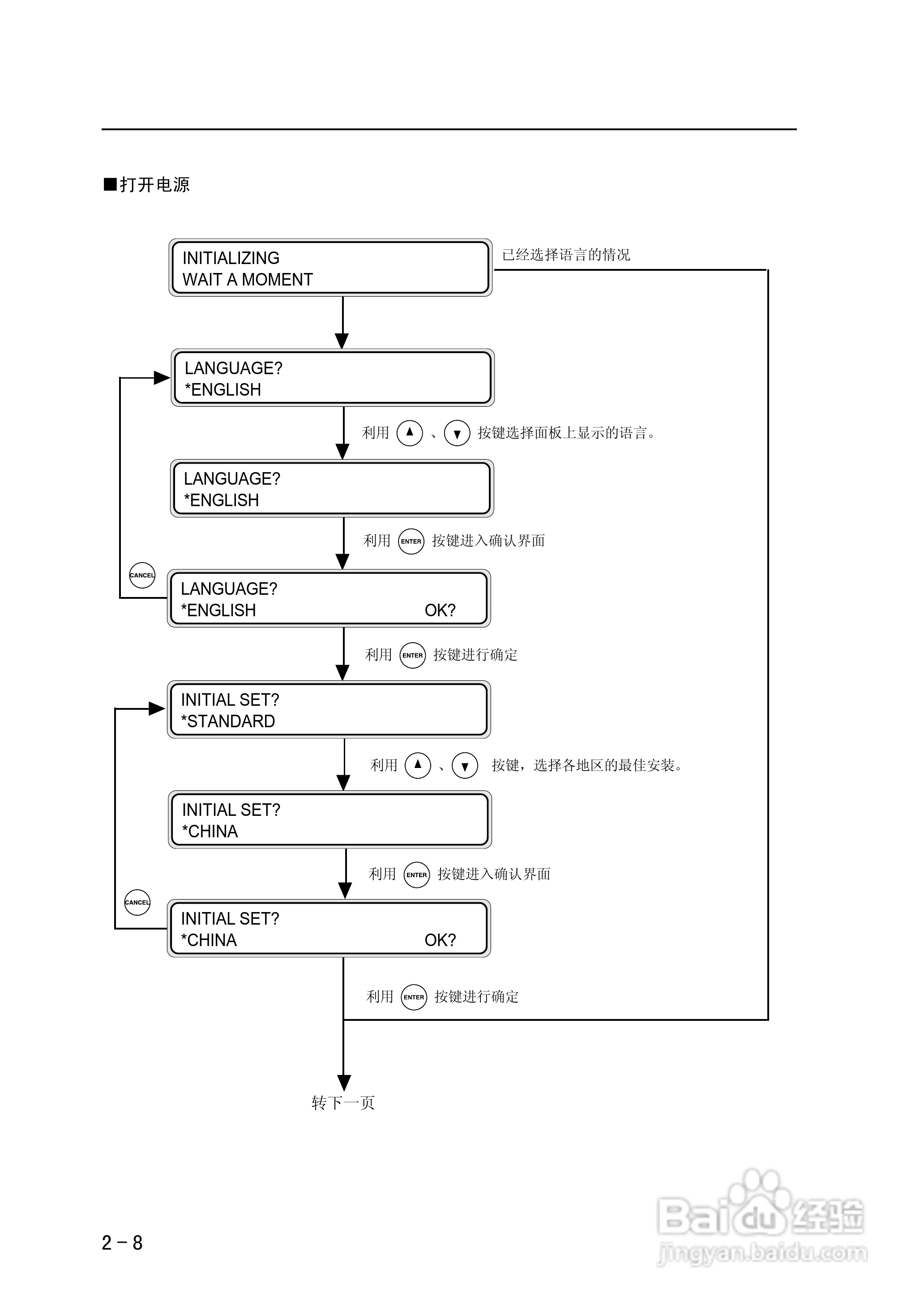
本篇为《精工LP-1010/1010L打印机使用说明书》,主要介绍该产品的使用方法以及常见故障解决方案。


精工LP-1010/1010L打印机使用说明书:[5]

精工LP-1010/1010L打印机使用说明书:[5]

精工LP-1010/1010L打印机使用说明书:[5]

精工LP-1010/1010L打印机使用说明书:[5]

精工LP-1010/1010L打印机使用说明书:[5]

精工LP-1010/1010L打印机使用说明书:[5]

精工LP-1010/1010L打印机使用说明书:[5]

精工LP-1010/1010L打印机使用说明书:[5]

精工LP-1010/1010L打印机使用说明书:[5]

精工LP-1010/1010L打印机使用说明书:[5]

(共篇)上一篇:|下一篇:
  • 精工LP-1010/1010L打印机使用说明书:[15]
  • 精工LP-1010/1010L打印机使用说明书:[24]
  • 打印机驱动程序如何安装
  • 打印机脱机怎么办?
  • 打印机显示脱机怎么办
  • 热门搜索
    一朵玫瑰代表什么 玻璃是什么意思 打造装备需要什么道具 付费音乐包有什么用 按兵不动的意思 戒指在中指什么意思 坚强不屈的意思 路漫漫其修远兮的意思 梦见鸡蛋是什么意思 菜刀队是什么意思